近日,鞠婧祎与丝芭传媒合约一事引发广泛关注,双方针对是否续约各执一词。
天眼查知识产权信息显示,上海丝芭文化传媒集团有限公司已于2022年备案了鞠婧祎.cn、ju-jingyi.com、ju-jingyi.cn、ju-jingyi.com.cn网站域名,上述域名打开均为“鞠婧祎官方网站”。此外,丝芭传媒旗下上海丝芭演艺管理有限公司已注册多枚“鞠婧祎”商标,商标状态均为已注册。



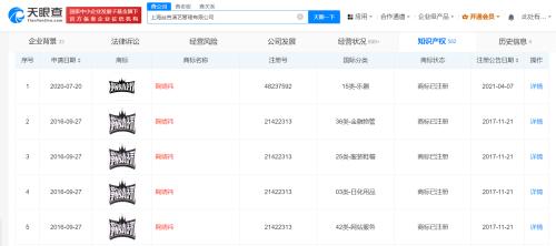
近日,鞠婧祎与丝芭传媒合约一事引发广泛关注,双方针对是否续约各执一词。
天眼查知识产权信息显示,上海丝芭文化传媒集团有限公司已于2022年备案了鞠婧祎.cn、ju-jingyi.com、ju-jingyi.cn、ju-jingyi.com.cn网站域名,上述域名打开均为“鞠婧祎官方网站”。此外,丝芭传媒旗下上海丝芭演艺管理有限公司已注册多枚“鞠婧祎”商标,商标状态均为已注册。



2025年12月2日,惠与(HPE)宣布通过其HPE Portfolio扩展与英伟达的AI计算合作。双方将在法国格勒诺布尔联合成立人工智能工厂实验室(AI Factory Lab)。该实验室旨在加速欧洲地区人工智能技术的研...
2025年12月1日,欧洲飞机制造商空客公司证实,其A320系列飞机部分金属面板存在质量问题,原因是供应商环节出现问题,仅影响少量产品。空客发言人表示,问题根源已查明并得到控制,所有新生产的面板...
2025年12月2日,深交所披露,山东宏创铝业控股股份有限公司拟以635亿元人民币(90亿美元)收购其主要股东持有的铝业资产。标的公司为山东宏拓实业,系全球最大的电解铝生产商之一。此次交易通过发...
12月1日,迈富时全球研发总部签约落户南京江北新区,项目总投资达100亿元。此次落户将包括全球研发总部及AI专项产业基金的建设。迈富时计划在未来5年内,于南京江北新区招聘员工超2000人,助力区...
2025年12月2日,世界卫生组织发布关于使用GLP-1受体激动剂治疗肥胖症的全球指导意见。该指南明确推荐在特定条件下将GLP-1类药物用于成人肥胖症管理。此举旨在为各国制定肥胖防治策略提供科学依...
2025年12月2日,巴里克矿业宣布正考虑将其旗下北美黄金资产进行首次公开募股(IPO)。此举旨在优化公司资本结构,释放资产价值。据悉,该资产组合包括多个位于北美的在产金矿。若计划推进,IPO有望...
2025年12月1日,英伟达首席执行官黄仁勋表示,公司与新思科技的合作交易不具排他性。该合作旨在推动相关技术的广泛应用与加速落地,进一步拓展双方在半导体及AI领域的技术协同。此举有助于增强产...
2025年12月1日,中国科学院大气物理研究所宣布,科研团队成功研发火星大气环流模式GoMars,并基于该模式实现了对火星沙尘循环的全面模拟。研究重点揭示了沙尘循环在不同时间尺度上的变化特征,尤...
2025年11月30日晚,可灵AI通过官方公众号宣布其全球首个统一多模态视频模型--可灵视频O1全量上线。该模型采用全新生成式底座与MVL多模态交互架构,支持在单一输入框内融合多种任务,并具备常识推...
2025年12月1日,AI初创公司Runway发布全新视频生成模型Gen 4.5。独立测试显示,该模型在Video Arena榜单中排名第一,超越谷歌Veo 3和OpenAI Sora 2 Pro。Gen 4.5可基于文本生成高清视频,精准理解...
2025年12月1日,美国银行宣布将半导体公司博通(Broadcom)的目标股价从400美元上调至460美元。此次调整反映了对博通在云计算和基础设施领域增长前景的乐观预期。分析认为,公司在AI驱动下的数据...
2025年12月1日,默沙东宣布计划发行美元债券,拟筹集至多80亿美元资金。此次发债将在全球市场进行,募集资金将用于企业运营、研发投资及一般公司用途。发债具体条款将根据市场情况确定。此举旨在...
深蓝S05 11月全球热销16170辆。
11月29日15时左右,航旅纵横因系统故障大面积误发航班取消通知,导致部分用户误以为航班取消并重新购票。经核实,相关航班实际正常执飞,用户因此承担了票价差价及退票费等额外损失。事件引发广泛...
2025年11月,上海二手房市场迎来回暖。自8月25日"沪六条"新政实施以来,外环外限购松绑、信贷政策优化等举措持续释放效应,推动市场平稳向好。当月二手房(含商业)网签成交量达近7个月新高,位居年...