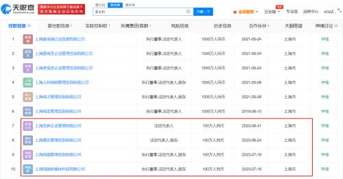
天眼查App显示,8月31日,上海奈犇企业管理有限公司成立,法定代表人为李文利(李佳琦母亲),注册资本100万人民币,经营范围含企业管理、企业管理咨询、信息咨询服务等。股权全景穿透图显示,该公司由上海愚安管理咨询有限公司全资持股,后者成立于8月24日,由李佳琦与李文利分别持股99%、1%。
近期,李佳琦与母亲已接连成立多家新公司,除上述2家公司外,还包括上海琦焜管理咨询有限公司、上海琦锐新媒体科技有限公司。



天眼查App显示,8月31日,上海奈犇企业管理有限公司成立,法定代表人为李文利(李佳琦母亲),注册资本100万人民币,经营范围含企业管理、企业管理咨询、信息咨询服务等。股权全景穿透图显示,该公司由上海愚安管理咨询有限公司全资持股,后者成立于8月24日,由李佳琦与李文利分别持股99%、1%。
近期,李佳琦与母亲已接连成立多家新公司,除上述2家公司外,还包括上海琦焜管理咨询有限公司、上海琦锐新媒体科技有限公司。



近日,上海铂古藏金实业有限公司与全球智能科技企业追觅科技正式达成黄金定制战略合作。追觅科技此次面向约1.9万名员工推出黄金定制项目,旨在传递企业温度与人文关怀。上海铂古藏金凭借其在珠...
2月10日,腾讯混元正式推出面向消费级硬件的端侧轻量大模型HY-1.8B-2Bit。该模型经2比特量化后等效参数量仅0.3B,内存占用约600MB,适用于手机、IoT设备等资源受限场景。此举旨在降低大模型在电...
2月7日,传奇程序员约翰·卡马克在X平台提出新构想: 以200公里单模光纤环路作为AI计算的二级缓存。该方案利用光在光纤中传播的时间延迟实现"飞行中存储",理论带宽达32TB/s、容量约32GB。其原理...
国家市场监督管理总局网站2月9日晚发布上海蔚来汽车有限公司的汽车召回信息,共有246229辆纯电动汽车被召回,部分车辆由于软件问题,可能在特定条件下出现短时间的仪表及中控屏黑屏。召回编号S20...
2026年2月,上海--大晓机器人(2025年成立,商汤科技旗下具身智能公司)宣布完成天使轮融资。本轮融资由蚂蚁集团领投,启明创投、金景资本、弘毅投资、联想创投、上海交大母基金菡源资产等跟投,老...
2026年2月,人工智能与国产算力解决方案提供商"一猫之下"完成天使轮融资,投资方为麓山投资。公司总部位于中国,专注于高性能计算领域,业务涵盖AI硬件研发、集成电路设计及算力本地化部署。本轮...
2026年2月10日,上海集成电路产业投资基金三期完成工商变更,出资额由5.3亿元增至60.3亿元,增幅约1038%。该基金成立于2025年3月,注册地为上海,执行事务合伙人为上海集成电路产业投资基金管理有...
2026年2月10日,上海市卫生健康委等九部门联合印发《关于进一步加强本市社区卫生服务机构建设与运行的实施意见》。文件明确,将统筹人口数量与结构变化趋势,科学优化机构布局: 每个街道(镇、乡)...
2026年2月,湖南株洲鸿星科技有限公司完成天使轮融资,由株洲国投创投与定航资本联合投资。该公司专注于脉冲等离子体推力器的工程化应用,业务覆盖航天器与运载火箭制造、微小卫星研发生产、火箭...
2026年2月,国雁集团完成Pre-A轮融资,由亿道基金独家投资。该公司总部位于中国,专注于新材料技术研发与制造,业务覆盖合成材料、工程塑料、塑料制品及汽车零部件的研发生产,并拓展储能技术服务...
2026年2月10日,德国厂商Aqua Computer正式发售Ampinel 12V-2x6适配器。该产品采用主动式负载均衡技术,可实时监控电气参数并在高危场景下重定向电流,物理级规避Nvidia高端显卡(如RTX 4090)12VH...
2026年2月,览翌航空成功完成数千万人民币Pre-A轮第二笔融资,由无锡锡创投与梁溪产业协同发展基金联合投资。本轮融资将重点用于中型电动物流无人机LEU100的适航取证及首批量产产能建设。览翌航...
2026年2月10日,深圳途见科技宣布完成Pre-A轮融资,投资方为联想之星。该公司长期专注多模态柔性触觉传感器及柔性电子皮肤触觉感知系统的研发与制造。其技术主要面向具身智能机器人、智能感知座...
2026年2月,武汉奕普勒科技有限公司完成天使轮融资,投资方为艾克斯光谷投资。公司专注于超声设备及电子专用设备的研发与制造,产品拟应用于医疗诊断、工业无损检测及科研领域。本轮融资将用于核...
2026年2月9日,宏碁宣布其2026年1月合并营收达210.77亿新台币(约合46.56亿元人民币),同比增长39.8%,创多年同期新高。营收增长主要来自商用产品(+63.4%)、电竞及游戏相关业务(+53.4%)和笔记本电...
2026年2月,工信部发布《减免车辆购置税的新能源汽车车型目录(第二十七批)》,新款腾势Z9与Z9GT正式入选。两款车型均提供102.326kWh和122.496kWh电池版本,CLTC纯电续航最高达1068km(Z9)和1036km...