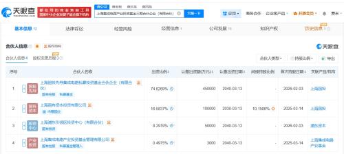
天眼查App显示,近日,上海集成电路产业投资基金三期合伙企业(有限合伙)发生工商变更,新增上海国投先导集成电路私募投资基金合伙企业(有限合伙)、上海浦东引领区投资中心(有限合伙)为合伙人,同时出资额由5.3亿人民币增至60.3亿人民币,增幅约1038%。
该基金成立于去年3月,执行事务合伙人为上海集成电路产业投资基金管理有限公司,经营范围为以私募基金从事股权投资、投资管理、资产管理等活动,现由上海国有资本投资有限公司、上海集成电路产业投资基金管理有限公司及上述新增合伙人共同出资。



天眼查App显示,近日,上海集成电路产业投资基金三期合伙企业(有限合伙)发生工商变更,新增上海国投先导集成电路私募投资基金合伙企业(有限合伙)、上海浦东引领区投资中心(有限合伙)为合伙人,同时出资额由5.3亿人民币增至60.3亿人民币,增幅约1038%。
该基金成立于去年3月,执行事务合伙人为上海集成电路产业投资基金管理有限公司,经营范围为以私募基金从事股权投资、投资管理、资产管理等活动,现由上海国有资本投资有限公司、上海集成电路产业投资基金管理有限公司及上述新增合伙人共同出资。



界面新闻从知情人士处获悉,荣耀正与字节跳动就"豆包手机"相关合作展开接洽。据上述知情人士透露,字节跳动在与中兴通讯合作推出第一代豆包手机之前,最先接触的手机厂商其实是荣耀。不过,荣耀当...
4月12日,陪伴机器人公司Ludens AI宣布完成天使轮及天使+轮两轮融资,总额数千万人民币。线性资本领投天使轮,清水湾基金跟投;天使+轮由日本PKSHA Algorithm Fund与清水湾基金联合参投。公司创...
4月12日,CFB集团宣布完成对中式糖水品牌鲜芋仙的控股收购,成为其最大及控股股东,并全面接手运营。CFB集团为DQ、棒约翰等品牌在华运营商,由方源资本控股,聚焦餐饮投资。此次并购旨在构建'西式...
4月10日,广东尚研电子科技股份有限公司北交所IPO进程终止,系公司主动撤回申请。该公司主营变频驱动器、电源控制器及智能终端产品,2022-2024年营收分别为5.21亿、6.16亿、5.88亿元,净利润呈稳...
2026年4月9日,乐心医疗(SZ300562)发布2025年年度报告。公司全年实现营业收入9.86亿元,同比增长0.23%;归母净利润8199.91万元,同比增长33.63%;综合毛利率为35.60%。截至2025年末,在职员工总数...
4月9日,绿茶集团(06831.HK)公告,主要股东Partners Gourmet拟清仓所持全部1.06亿股,占已发行股份约15.96%。交易分三部分: 向摩根大通证券(亚太)及广发证券(香港)配售6004.4万股;向某投资基金...
4月24日,2026(第十九届)北京国际汽车展览会(简称2026北京国际车展)即将在中国国际展览中心(新馆)开幕,标致暨东风标致展位位于A3馆,将携多款重磅车型亮相,并发布品牌焕新战略,正式开启智电转型...
时隔三年,雪铁龙暨东风雪铁龙将重返中国A级车展舞台。4月24日开幕的2026(第十九届)北京国际汽车展览会上,品牌将亮相中国国际展览中心(新馆)A3馆,带来多款重磅新车,回应用户对智电时代舒适出行...
2026年4月,群联电子(Phison)在CFMS | MemoryS 2026展会公布UFS 5.0主控PS8365。该芯片采用台积电6nm工艺,4通道8封装设计,支持TLC/QLC NAND,最大容量2TB。顺序读写性能达UFS 5.0规范上限10.8GB...
2026年6月,小红书旗下跨境电商平台Redshop将正式上线。首期将定向邀请非遗手工、特色手工艺品等品类的种子商家,后续逐步拓展类目。此举是小红书加速电商业务布局的关键一步--2023年其整合电商...
截至2026年4月13日,Pearl Abyss开发的开放世界动作RPG《红色沙漠》在Steam平台数据显示,仅约2.4%的玩家解锁"终章执笔人"成就,即完成全部主线任务。游戏以庞大地图、高自由度探索和爽快战斗见...
4月10日,欧洲议会未批准延长《电子隐私指令》中允许科技公司自动扫描儿童性虐待材料的例外条款,该机制已于4月3日失效。此举引发儿童安全专家担忧,认为将削弱非法内容识别能力。谷歌、Meta等公...
4月12日,MiniMax正式开源其首个自我深度迭代大模型M2.7。该模型具备自主构建Agent Harness、优化强化学习流程等自我进化能力,可完成复杂生产力任务。昇腾AI基础软硬件当日即完成0 Day适配,支...
2026年4月13日,法拉第未来创始人贾跃亭宣布FF EAI机器人新增出货12台,向首个交付季200台目标稳步推进。公司正推进Super One车型电气架构升级,力争首批量产即采用800V平台,以提升续航、充电速...
4月11日,Anthropic公司正式推出Claude for Word测试版,面向微软Office生态发起新挑战。该插件专为法律、金融等需深度文档处理的专业人士设计,支持基于文档内容的提问、带可点击段落引用的回答...
2026年4月10日,荷兰车辆管理局RDW向特斯拉FSD(监督版)颁发欧洲首张车型认证许可,允许其在荷兰公共道路面向用户使用。该认证历时18个月,完成超160万公里道路测试及1.3万次随车体验,满足联合国R...