据报道,今年5月,董明珠网红秘书孟羽童离职引发热议。近日,董明珠受访被问及网红员工问题时回应称:网红不网红看人品质,人在格力去外面做广告是不合规的。
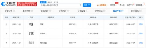
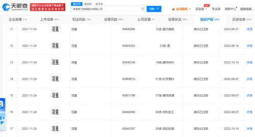
天眼查App显示,格力电器(000651)曾于2021年申请注册多个“孟羽童”“羽童”“明珠羽童”商标,国际分类包括运输工具、日化用品、灯具空调等,目前多数商标状态为已注册。




据报道,今年5月,董明珠网红秘书孟羽童离职引发热议。近日,董明珠受访被问及网红员工问题时回应称:网红不网红看人品质,人在格力去外面做广告是不合规的。
天眼查App显示,格力电器(000651)曾于2021年申请注册多个“孟羽童”“羽童”“明珠羽童”商标,国际分类包括运输工具、日化用品、灯具空调等,目前多数商标状态为已注册。




2025年11月26日,韩国KT与DigitalBridge签署备忘录,将在韩国合作开发新一代人工智能数据中心。项目预计投资额达数十亿美元,旨在满足日益增长的AI计算需求。双方将整合资源,推动韩国成为亚太地...
2025年11月26日,四川省松潘县东北寨金矿通过矿产资源储量评审。该项目累计查明金资源量达81.06吨,平均品位3.75克/吨,新增资源量28.24吨,规模属特大型。该矿成为截至目前四川完成备案的资源量...
2025年11月26日,松下能源宣布与亚马逊旗下Zoox达成多年协议,将为其自动驾驶网约车车队供应圆柱形锂离子电池。根据协议,松下将于2026年初开始交付最新的2170型号电池单元,支持Zoox机器人出租车...
电影《阿凡达: 火与烬》将于12月在第七届海南岛国际电影节期间,通过CINITY和CINITY LED屏幕在中国首映。此次放映依托我国自主研发的高端放映系统,展现国产技术在高品质视听领域的突破。截至20...
近日,首届红果创作者大会在山西太原举办,会上宣布,短剧创作服务平台正式上线,现已开放编剧入驻。大会数据显示,2025年以来,红果短剧创作服务平台孵化微短剧数量较年初增长近4倍,其中130余部红...
11月26日,前特斯拉Optimus灵巧手团队成员卢泽宇已加入小米机器人团队,负责灵巧手,他在个人社交平台上表示,希望能和更多志同道合的优秀同学一起加速灵巧手技术路径收敛和工程化落地。在卢泽宇...
近日,有二手电商平台被曝出售铁路12306会员积分,引发关注。12306客服回应称,会员积分仅限本人及亲友使用,不可转让或售卖。用户购票可累积积分,并可添加8位受让人无偿使用。律师指出,此类买卖...
2025年11月26日,居然智家宣布旗下洞窝、居然设计家已接入阿里千问。公司表示,此举旨在提升智能化服务能力。阿里目前持有居然智家14.35%股份,为第二大股东。接入后,相关平台将强化AI在家居设计...
2025年11月26日,浙农股份公告称,公司及下属控股企业拟在2026年度使用最高不超过50亿元闲置自有资金进行投资理财。投资范围限于安全性高、流动性好、风险较低的银行理财产品,不得用于股票或高...
2025年11月26日,华天科技在互动平台回应投资者提问时表示,公司与摩尔线程存在合作。合作内容涉及为摩尔线程提供封装测试服务。该信息于当日公开披露,旨在回应市场关切。目前双方合作进展正常...
2025年11月26日,自然资源部发布消息称,我国已成功攻克煤铝铜铅锌矿中低品位稀散金属高效提取技术。该技术显著提升了多种关键稀散金属的回收率,其中煤中锗的综合回收率从55%提升至80%以上;铅...
2025年11月15日至25日,日本飞往中国境内的民航旅客量约22万人次,环比增长约11%,东京、大阪、名古屋等机场为主要出发地。与此同时,中国境内飞往日本的旅客量呈下降趋势,11月25日较15日减少约23...
米哈游今日宣布,《星布谷地》「宜居测试」将于2025年12月1日10: 00正式关服。本次测试为删档测试,所有数据将被清除。玩家若希望保留「野咖啡-私密房间」中的记忆,需在关服前填写「宜居测试体...
2025年11月,中国工商银行成功与多家外资银行开展境外外币三方回购交易。此次交易使工行成为境内首家参与国际市场外币三方回购的金融机构。交易地点涉及国际金融市场,主体为工行与数家外资银行...
11月25日,广东-新加坡合作理事会第十五次会议在广州举行。广东已连续36年成为新加坡在中国最大的省级贸易伙伴。会议在中新友好合作框架下,发布涉及科技创新、教育人才、生物医药、金融服务、...
2025年11月26日,中国科学院工业人工智能研究所在江苏南京正式成立。该研究所聚焦国家战略与产业创新重大需求,承担工业人工智能从顶层设计到体系落地的全链条创新任务。通过构建"技术引领-平台...