5月24日,鹿晗2023πDAY演唱会北京站门票开票秒罄。据悉,该场演唱会为杜绝黄牛大批量拿票,由鹿晗工作室自己做主办方,并且还履行了三年前给医护人员演唱会门票等承诺。
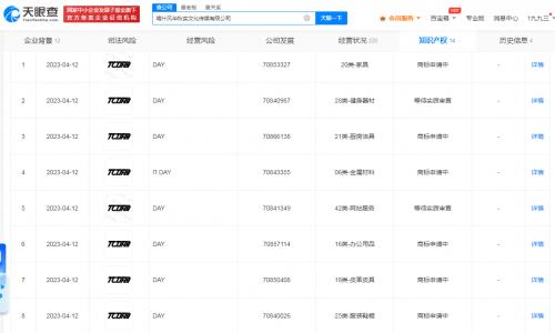
天眼查App显示,近日,鹿晗演唱会另一主办方风华秋实关联公司喀什风华秋实文化传媒有限公司申请注册多枚“πDAY”商标,国际分类涉及服装鞋帽、办公用品、广告销售等,当前商标状态均为申请中。


5月24日,鹿晗2023πDAY演唱会北京站门票开票秒罄。据悉,该场演唱会为杜绝黄牛大批量拿票,由鹿晗工作室自己做主办方,并且还履行了三年前给医护人员演唱会门票等承诺。
天眼查App显示,近日,鹿晗演唱会另一主办方风华秋实关联公司喀什风华秋实文化传媒有限公司申请注册多枚“πDAY”商标,国际分类涉及服装鞋帽、办公用品、广告销售等,当前商标状态均为申请中。


2026年3月21日,加州大学洛杉矶分校(UCLA)团队分析NASA"毅力号"火星车RIMFAX雷达数据,在耶泽罗陨石坑西部三角洲下方35米以上深度,发现形成于约42亿至37亿年前的古老地下河口三角洲。该结构由顶...
3月21日至22日,我国大部地区气温显著回升,华北、黄淮等地最高气温将达20℃以上,部分区域或创今年新高;同期,南方自22日起将出现大范围降雨,局地有中到大雨。升温与降雨并存,公众需注意冷暖变...
3月21日,大湾区首艘甲醇动力船"粤创盈002"在广东清远顺利完成试航。该船搭载潍柴6WH17甲醇船舶动力系统,由国内相关单位联合研制。试航涵盖码头系泊、低速操控、全速航行、机动回转及倒车制动...
2026年3月21日,PlayStation首席系统架构师Mark Cerny确认,索尼与AMD在'Project Amethyst'计划下联合开发了FSR Redstone帧生成技术。该技术包含超分辨率、帧生成和光线重建三大组件,其核心算法...
2026年3月20日,欧洲游戏评级机构PEGI宣布自6月起,所有含付费随机物品(战利品箱)的游戏将统一标为PEGI 16。此举旨在警示家长关注内购机制。而北美ESRB明确表示不跟进,坚持仅依据游戏实际内容进...
2026年3月,TrendForce集邦咨询数据显示,全球电视及显示器面板价格环比上涨,笔电面板价格止跌企稳。主因液晶显示器整机生产虽暂未受存储器缺货直接影响,但近期原材料与零部件成本普遍上扬,推升...
2026年3月20日,Pinterest首席执行官Bill Ready在《时代》杂志发文,公开支持澳大利亚拟议的16岁以下青少年社交媒体使用禁令,并呼吁各国政府建立统一执行标准及问责机制。他强调当前平台对低龄...
3月20日,消息源在X平台曝光英特尔未发布处理器酷睿Ultra 7 251HX及英伟达RTX 5070 12GB移动GPU。两款新品将搭载于联想Legion 5i 2026与微星Raider 16 HX游戏本,前者CPU基础功耗55W、后者标称...
3月21日,顺丰速运与西部机场集团在西安咸阳国际机场物流园区正式揭牌启用智汇联运枢纽。该枢纽位于T5东货运区,占地约3万平方米,是西北首个数智化多式联运物流枢纽及智能化航空快件中转中心。...
3月20日,玩家在Reddit曝光《红色沙漠》多处AI生成壁画存在面部缺失、肢体畸形等明显缺陷。该游戏首日销量超200万份,但开发商珍珠深渊未在Steam页面声明使用生成式AI。Valve自2024年起要求强制...
3月21日,阿里妈妈正式发布超级经营智能体引擎"AI万相"。该引擎面向电商商家,支持以自然语言下达经营指令,自动完成任务拆解、策略生成、广告投放、效果优化至成交交付的全流程。此举旨在降低商...
3月20日,科技媒体Wccftech在PassMark平台发现英特尔新款处理器酷睿Ultra 5 250KF Plus。该处理器为245KF继任者,采用6P+12E核心设计(Lion Cove+Skymont架构),主频达5.3GHz,L2/L3缓存分别增至36...
2026年3月20日,摄影媒体Photolari在YouTube发布采访视频,奥之心高管富樫一宏与小山弘树证实正在开发新款OM System PEN无反相机。两人表示新机"从逻辑上讲一定会推出",但未公布发布时间,仅以微...
3月21日,华电重庆潼南电厂1号机组完成168小时满负荷试运行,正式投产发电。该机组为我国首台550兆瓦F级燃气机组,位于重庆市潼南区,由华电集团建设运营。项目旨在提升大容量高效清洁能源装备应...
2026年3月20日,英特尔技术营销总监罗伯特·哈洛克透露,未来桌面CPU插座将延长生命周期。新规划中,即将发布的LGA 1954插座拟支持Nova Lake及后续至少三代架构处理器,旨在减少用户升级时更换主...
2026年3月21日,中国气象局在京发布风云四号C星首套观测图像。该星于2025年12月27日在西昌卫星发射中心成功发射,是我国新一代静止轨道气象卫星。其搭载的6台载荷性能达国际先进水平,可实现从太...