天眼查App显示,近日,中国太平洋人寿保险股份有限公司发生工商变更,潘艳红卸任法定代表人、董事长,由董事、总经理李劲松接任法定代表人。
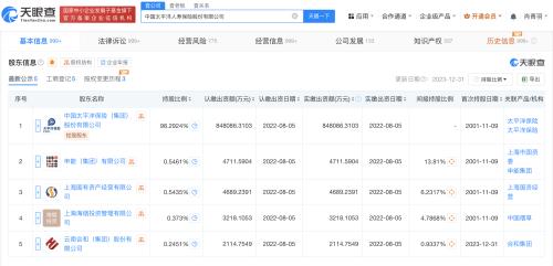
中国太平洋人寿保险股份有限公司成立于2001年11月,注册资本约86.3亿人民币,由中国太保(601601)、申能(集团)有限公司、上海国有资产经营有限公司等共同持股。
据媒体报道,今年8月,中国太保发布公告称,公司控股子公司中国太平洋人寿保险股份有限公司董事会收到潘艳红的书面辞职报告,潘艳红因年龄原因不再担任太保寿险董事长、董事的职务。鉴于潘艳红的辞任将导致太保寿险董事会人数低于相关监管规定,潘艳红将继续履行董事职务,直至新任董事的任职资格获得监管机构核准。




扫一扫关注微信