今日,#叶珂注销微博#话题登上热搜,引发网友关注。不久前,黄晓明女友叶珂发文回应近期传言,称因为自己过往的一些言论,占用了公共资源给大家道歉,表示将退出网络。
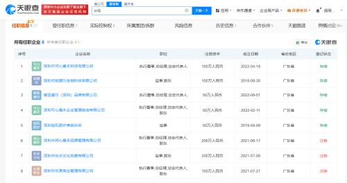
天眼查商业履历信息显示,叶珂共关联8家企业,其中5家为存续状态,包括深圳市可心嘉禾科技有限公司、深圳市铂丽尔生物科技有限公司、斐亚睿尔(深圳)品牌有限公司、深圳可心嘉禾企业管理咨询有限公司、深圳珀玑医疗美容诊所。叶珂持有上述2家企业股份、并在5家企业分别担任法定代表人、执行董事、总经理、监事职务。



今日,#叶珂注销微博#话题登上热搜,引发网友关注。不久前,黄晓明女友叶珂发文回应近期传言,称因为自己过往的一些言论,占用了公共资源给大家道歉,表示将退出网络。
天眼查商业履历信息显示,叶珂共关联8家企业,其中5家为存续状态,包括深圳市可心嘉禾科技有限公司、深圳市铂丽尔生物科技有限公司、斐亚睿尔(深圳)品牌有限公司、深圳可心嘉禾企业管理咨询有限公司、深圳珀玑医疗美容诊所。叶珂持有上述2家企业股份、并在5家企业分别担任法定代表人、执行董事、总经理、监事职务。



2026年3月18日,长沙族兴新材料股份有限公司(股票简称: 族兴新材,代码: 920078)正式在北京证券交易所上市。公司本次公开发行2300万股,发行价6.98元/股,市盈率14.99倍。发行采用战略配售与网上...
3月10日,中远海运北美供应链运营平台公司在美东新泽西州锡考克斯正式揭牌成立。该公司由中远海运集团设立,旨在整合北美区域海运、仓储、配送及数字化服务资源,提升端到端供应链响应能力。此举...
2026年3月,微软宣布为Electron框架提供Windows 11原生AI功能接入支持。此举面向搭载NPU的Copilot+ PC,允许开发者在不编写原生代码前提下,为现有Electron应用添加文本生成、摘要、写作辅助及图...
3月14日,网红"鹿哈"凌达乐带货的膳小丫贡菜千层肚被曝加工环境恶劣。天眼查App显示,膳小丫加工公司四川川牛福食品有限公司成立于2023年4月,法定代表人为邓南龙,注册资本100万人民币,经营范围...
3月17日,智能终端方案定制商浩恩施科技宣布完成2000万元天使轮融资。本轮融资由深圳某知名投资机构领投。浩恩施专注联发科MTK与瑞芯微平台,主营三防工业平板电脑等高新技术产品。融资将用于核...
2026年3月17日,谷歌、亚马逊、OpenAI等八家美国科技公司签署反诈骗承诺书。此举旨在加强跨平台威胁情报共享,明确协作机制以打击诈骗者滥用其服务的行为。协议推动企业与各国政府、执法机构及...
2027年起,优步与英伟达将在美国洛杉矶和旧金山部署由英伟达自动驾驶软件驱动的自动驾驶出租车车队。此举旨在加速商业化落地,计划于2028年前扩展至全球28个城市,覆盖北美、欧洲、澳大利亚及亚...
3月17日,智能乐器出海企业戴乐科技宣布完成近亿元A轮融资。经纬创投领投,绿洲资本、国泰海通跟投,老股东峰瑞资本持续加码。公司总部位于中国,专注研发Aeroband空气吉他拨片、PocketDrum体感架...
3月16日,英特尔宣布其至强6处理器被英伟达选为DGX Rubin NVL8系统头节点CPU。该液冷AI系统部署于美国,由八颗Rubin GPU与第六代NVLink构成,面向AI训练、推理及后训练任务。至强6支持8TB内存、M...
2026年3月,海南百迈科医疗科技股份有限公司就北交所IPO审核问询函作出回复。公司说明副总经理谭昭奎及其子谭奕勋、弟谭昭轩等亲属入股资金均来自合法自有或自筹,入股价格公允,不存在股权代持...
2026年3月19日起,小鹏汽车将在全国范围内逐步推送第二代VLA(Vehicle-Level Autonomy)智驾系统。该系统为小鹏面向L4级自动驾驶的首个量产版本,由小鹏汽车董事长兼CEO何小鹏于3月17日直播中宣布...
3月16日,深圳云启智合信息技术有限公司正式成立,注册地位于深圳,注册资本1000万元人民币。该公司由抖音集团全资子公司--深圳星罗拾光科技有限公司100%持股,法定代表人为张忠义。经营范围涵盖...
2026年3月17日,苹果公司宣布收购视频编辑软件初创企业MotionVFX。该公司总部位于美国,专注于为Final Cut Pro开发插件、模板及视觉特效工具。此次收购旨在强化苹果专业视频创作生态,提升Final ...
3月17日,申通快递公告,其子公司上海达滕申科技拟以2.8亿元现金收购关联方浙江菜鸟供应链持有的揭阳传云、成都传申100%股权。交易不构成重大资产重组。两家标的公司分别在广东揭阳和四川成都运...
3月16日,JetBrains宣布逐步停用IDE内置实时协作功能"Code With Me"。自2026.1版本起,该功能将降级为Marketplace独立插件,停止新特性开发,仅提供安全修复;新购与续费已全面终止。公共中继服务...
3月17日,哈博森宣布旗下MINI 7智能屏控版无人机将于近期正式上市,售价5999元(含5.5英寸带屏遥控器)。该机重249g,采用白色机身设计,配备前后双目+底部TOF避障系统、三轴无刷云台及1英寸4800万...