天眼查知识产权信息显示,近日,游戏科学旗下杭州游科互动科技有限公司登记多个作品著作权,包括“《黑神话:悟空》全球独家8分钟实机试玩”“《黑神话:悟空》最终预告”“《黑神话:悟空》科隆游戏展视频”“《黑神话:悟空》倒计时视频系列”等,作品类别为以类似摄制电影的方法创作的作品。
杭州游科互动科技有限公司成立于2018年10月,法定代表人、董事长、经理为冯骥,注册资本2000万人民币,由深圳市游科互动科技有限公司全资持股。


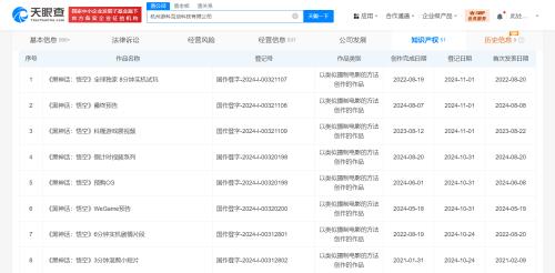
天眼查知识产权信息显示,近日,游戏科学旗下杭州游科互动科技有限公司登记多个作品著作权,包括“《黑神话:悟空》全球独家8分钟实机试玩”“《黑神话:悟空》最终预告”“《黑神话:悟空》科隆游戏展视频”“《黑神话:悟空》倒计时视频系列”等,作品类别为以类似摄制电影的方法创作的作品。
杭州游科互动科技有限公司成立于2018年10月,法定代表人、董事长、经理为冯骥,注册资本2000万人民币,由深圳市游科互动科技有限公司全资持股。


2026年2月,LG在海外正式推出52英寸带鱼屏显示器52G930B-B。该机采用5120×2160 VA面板,支持240Hz刷新率、1000R曲率及1ms GTG响应,HDR峰值亮度600尼特,覆盖95% DCI-P3色域。接口包括DP 2.1、双...
2月25日19时12分,阿富汗北部(北纬36.75度,东经71.55度)发生5.1级地震,震源深度100千米。此次地震发生在当地时间傍晚,震中位于巴达赫尚省附近山区,暂无人员伤亡和财产损失报告。由于震源较深,...
2026年2月25日,美国美光公司宣布量产24Gb(3GB)大容量GDDR7显存,传输速率达36Gbps。该产品可支持单卡最高96GB显存配置,旨在缓解图形渲染与AI计算中的显存带宽和容量瓶颈。相较当前主流16Gb/32G...
2025年12月23日,上海杨浦区一烤肉店遭顾客杨某以'食物中毒'为由索赔2000元。警方调查发现其提供的诊断证明、发票等材料系AI伪造,且无真实就医记录。杨某供认利用AI篡改他人病历图片,虚构病因...
2026年2月25日,据资深爆料人Evan Blass消息,联想与怒喵科技将联合推出新款联名键盘Yoga Creative Keyboard AngryMiao Edition。该产品隶属联想创意生产力线,采用95%配列并配备数字键区,右上角...
2026年2月下旬,全球首条跨大西洋光纤海底电缆TAT-8在葡萄牙近海由Subsea Environmental Services公司启动打捞作业。该电缆于1988年12月14日投运,服役37年,2002年停运后长期静置海底。作为首条...
2026年2月27日13时(北京时间),卡普空新作《生化危机: 安魂曲》PC版将在Steam平台正式解锁,预载已开启。游戏容量约72GB,支持RTX路径追踪、DLSS 4多帧生成及光线重建技术。主机版已于同日0时(当...
2026年2月25日,华兰生物参股公司华兰安康收到国家药监局《药物临床试验批准通知书》,同意其帕博利珠单抗注射液按生物类似药开展临床试验。该药为默沙东原研PD-1抑制剂帕博利珠单抗的生物类似...
2026年2月25日,浙江昂利康制药股份有限公司(002940.SZ)宣布,其多潘立酮片获国家药监局批准通过仿制药质量和疗效一致性评价。该药适用于消化不良、腹胀、嗳气、恶心、呕吐及腹部胀痛等症状。此...
2026年2月25日,据韩媒DealSite报道,三星电子DX部MX业务即将发布的Galaxy S26系列智能手机,其首批LPDDR5X内存由三星DS部存储器业务与美光各供应约50%。此举标志三星结束此前S25系列初期由美光...
据悉,三星电子计划于2026年3月起正式停止在韩国华城园区12号生产线的2D NAND闪存制造。此举标志着其延续十余年的2D NAND时代终结。自2013年量产3D V-NAND以来,三星长期保留小规模2D产能以服务...
当地时间2026年2月25日(周三)上午,OpenAI发布威胁情报报告,指出不法分子在柬埔寨等地利用ChatGPT实施新型"杀猪盘"诈骗。该团伙面向印尼男性,伪造女性身份、生成虚假律师证及品牌标识,并通过Te...
2026年2月25日,福建省商务厅等9部门联合印发《福建省2026年汽车以旧换新实施细则》。个人消费者在省内出售名下符合条件的旧乘用车(须于2025年1月8日前登记且期间未转让),并购买纳入工信部减免...
2026年2月25日,珩湾科技(01523.HK)宣布拟分拆旗下实体在纳斯达克独立上市。公司已依据港交所《第15项应用指引》提交分拆提案,并获联交所批准。此举旨在优化集团架构、提升融资能力及拓展国际...
2026年2月25日,科兴制药全资子公司深圳科兴药业收到国家药监局《药物临床试验批准通知书》,同意GB19注射液开展系统性红斑狼疮适应症临床试验。该药为靶向BDCA2的创新生物制剂,作用于浆细胞样...
2026年2月25日,康缘药业(600557.SH)宣布收到国家药监局签发的黑黄赤珠颗粒《药物临床试验批准通知书》。该药拟用于治疗缺血性心脏病所致慢性心力衰竭气阳虚血瘀水泛证,功能主治为益气活血、通...