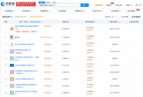
天眼查App显示,7月14日,银隆新能源股份有限公司新增一条被执行人信息,案号(2021)粤执48号,执行标的240000000元,执行法院为广东省高级人民法院。

股东信息显示,该公司股东包括董明珠、大连万达集团股份有限公司等。


天眼查App显示,7月14日,银隆新能源股份有限公司新增一条被执行人信息,案号(2021)粤执48号,执行标的240000000元,执行法院为广东省高级人民法院。

股东信息显示,该公司股东包括董明珠、大连万达集团股份有限公司等。


2026年1月25日起,香港实施新道路交通安全规定,要求所有公共交通工具及商用车辆所有座位乘客必须佩戴安全带。新规适用于全港范围,涵盖巴士、小巴、出租车及货车等车辆。违例者包括车主、司机及...
smart官方宣布,精灵#2原型概念车将于2026年4月在北京国际车展全球首发。该车由梅赛德斯-奔驰设计团队操刀,基于全新ECA超紧凑纯电架构打造,采用双门双座布局。量产版计划于2026年内发布,并于20...
1月25日,任天堂直面会发布《超级马力欧银河大电影》全新预告。影片定于4月1日全球首映,由Illumination制作,目前动画已全部完成,进入音效与配乐后期阶段。预告首次正式亮相耀西与凯瑟琳,展现马...
1月24日,2026北京国际商业航天论坛举行。银河航天创始人、董事长兼CEO徐鸣发表主旨演讲,指出太空新基建正开启万亿级市场爆发期,预计2035年全球太空经济规模达1.8万亿美元。公司已成功发射40余...
2026年1月,Newsguard测试显示,Grok、ChatGPT和Gemini对Sora生成的伪造视频识别错误率分别达95%、92.5%和78%。研究使用20条经去水印处理的虚假视频,涵盖政治、航空等敏感场景。即便视频含可见...
1月25日,星河动力总工程师李君在2026北京国际商业航天论坛上宣布,智神星二号可重复使用液体运载火箭计划于2026年首飞。该火箭直径4.5米,含基本型与CBC构型,LEO运载能力分别为20吨和58吨。1月2...
2026年2月下旬,苹果将在iOS 26.4测试版中推出基于谷歌Gemini模型的全新Siri。该功能由代号"苹果基础模型v10"(参数量1.2万亿)驱动,运行于苹果私有云,支持屏幕感知、跨应用操作等AI能力。合作源...
2026年1月26日12: 00,CHERRY樱桃将正式开启《宝可梦》IP联名百变怪主题外设预售。本次联名涵盖MX 8.2 Pro Hybrid键盘及桌垫型鼠标垫两款产品。键盘主键区支持机械轴与磁轴互换,出厂默认WASD及...
2026年1月25日,上海将人工智能训练师列入急需紧缺高技能人才目录。该职业自2020年2月正式纳入国家职业分类大典,设五级至一级共五个技能等级。培训以实操为主(占比70%),面向职场人周末开班。在...
自2026年1月26日零时起,全国铁路正式启用新列车运行图。此次调图覆盖全国范围,由国铁集团统筹实施。调整后,图定旅客列车达12130列,增开243列;货物列车达23748列,增开177列。调图旨在提升客货...
1月26日至3月12日,百度文心助手将在百度APP上线春节现金红包活动,用户使用该AI助手即可参与瓜分5亿元红包,单人最高可得1万元。活动由百度主办,覆盖全国范围,旨在推动AI产品在节日期间的大众化...
1月25日,百度发布文心助手关于春节现金红包活动的通知。自1月26日至3月12日,用户在百度APP使用文心助手,就有机会瓜分5亿现金红包,最高可获得1万元奖励。此外,百度APP还将作为首席AI合作伙伴合...
2021-2025年"十四五"期间,我国以科技创新驱动气象现代化,建成全球覆盖的地球系统数据资源体系和"天擎"大数据云平台。全国强对流天气预警提前量达48分钟,台风24小时路径预报误差缩至58公里,预...
1月25日,康诺生物制药股份有限公司-B正式向香港交易所递交上市申请,拟主板挂牌。该公司为专注于创新生物药研发的制药企业,本次IPO由国投证券国际独家保荐。申请标志着其商业化进程关键一步,旨...
1月25日,爱芯元智半导体股份有限公司正式向香港交易所递交上市申请。该公司拟通过首次公开发行(IPO)募集资金,用于AI芯片研发及产能扩张。中金公司、国泰海通和交银国际担任联席保荐人。爱芯元...
2026年1月23日,洛阳钼业通过控股子公司完成对加拿大Equinox Gold旗下Aurizona、RDM及Bahia金矿100%权益的交割。本次交易位于巴西,涉及黄金资源量501.3万盎司、储量387.3万盎司,平均品位分别为...