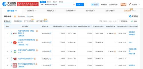
天眼查App显示,近日,国联人寿保险股份有限公司发生工商变更,注册资本由21亿人民币增至约46.6亿人民币,增幅约122%,同时,法定代表人及多位高管发生变更。
该公司成立于2014年12月,法定代表人为钱芳,经营范围为人寿保险和年金保险,健康保险,意外伤害保险,分红型保险,万能型保险,上述业务的再保险业务,国家法律、法规允许的保险资金运用业务,经中国保监会批准的其他业务。股东信息显示,该公司由无锡市国联发展(集团)有限公司、无锡灵山文化旅游集团有限公司、无锡市交通产业集团有限公司等共同持股。



天眼查App显示,近日,国联人寿保险股份有限公司发生工商变更,注册资本由21亿人民币增至约46.6亿人民币,增幅约122%,同时,法定代表人及多位高管发生变更。
该公司成立于2014年12月,法定代表人为钱芳,经营范围为人寿保险和年金保险,健康保险,意外伤害保险,分红型保险,万能型保险,上述业务的再保险业务,国家法律、法规允许的保险资金运用业务,经中国保监会批准的其他业务。股东信息显示,该公司由无锡市国联发展(集团)有限公司、无锡灵山文化旅游集团有限公司、无锡市交通产业集团有限公司等共同持股。



4月29日,空客CEO表示,今年一季度美元贬值走势与公司本财年预期完全一致。目前空客全球订单未出现取消或延期情况,交付节奏保持平稳。此举反映其以欧元计价成本优势增强,对冲部分汇率风险。空客...
2026年4月29日,亚马逊云服务(AWS)正式推出Amazon Connect Decisions和Amazon Connect Talent两款AI驱动生产力软件。产品面向物流一线员工与企业招聘人员,支持自动化面试、需求预测建模等任务...
2026年4月28日,格力电器(000651.SZ)公告宣布,拟以自有资金通过集中竞价方式回购股份,总额50亿至100亿元,价格不超56.55元/股。回购股份中不低于70%将用于注销并减少注册资本,其余不超过30%用于...
2026年4月29日,美国甲骨文公司宣布与OpenAI建立合作关系。双方将聚焦云基础设施与AI模型部署的深度协同,旨在提升企业级大模型应用性能与安全性。合作由甲骨文首席执行官拉里·埃里森与OpenAI...
2026年4月29日,浙江南都电源动力股份有限公司(300068.SZ)宣布终止H股发行上市筹备工作。公司称,此举系综合考量当前宏观经济环境、资本市场状况及自身实际发展需要后作出的审慎决策。该事项不...
4月28日,英伟达正式推出NEMOTRON3NANOOMNI模型,实现视觉、音频与语言三模态统一处理。该模型面向AI智能体场景,推理效率较前代提升9倍。首发上线Hugging Face、NGC等主流AI平台,面向开发者免费...
2026年4月28日,航天发展(000547.SZ)发布2025年年报,全年营收25.01亿元,同比增长33.82%;归母净利润为-13.09亿元。公司决定2025年度不派发现金红利、不送红股、不以公积金转增股本。数据显示,...
4月29日,空客首席执行官表示,公司对全球航空业基本面持续保持信心。针对近期A320系列飞机机身面板存在的制造偏差问题,空客已完成技术评估并推进整改,目前进展顺利。该问题仅涉及部分生产线的...
雷蛇于2026年4月28日宣布,BLACKPINK联名系列外设将于5月7日23: 00在国内正式发售。该系列包括雨林狼蛛V3竞技版键盘、炼狱蝰蛇标准版鼠标、巨甲虫V2(M)鼠标垫及水神X电竞座椅。产品融合BLACKPI...
2026年4月28日,奇瑞汽车(9973.HK)发布2026年一季度财报。公司当季营收658.7亿元,毛利105.64亿元,同比增长24.9%;归母净利润41.7亿元,盈利保持稳健。研发投入28.5亿元,同比增加25.5%;财务费用...
2026年4月28日,立讯精密发布2026年第一季度财报。公司实现营业总收入838.88亿元,同比增长35.77%;归母净利润36.6亿元,同比增长20.24%;扣非净利润27.76亿元,同比增长15.22%。基本每股收益0.50...
2026年4月28日,隆基绿能发布2026年一季度财报。公司实现营业总收入111.916亿元,同比下降18.03%;归母净利润亏损19.199亿元,同比扩大33.7%。亏损扩大主因汇率变动导致汇兑损失增加7亿元,叠加应...
4月28日,格力电器发布2025年年报: 营业总收入1704.48亿元,归母净利润290.03亿元,同比均下降9.89%;扣非净利润277.06亿元,下降7.95%;经营现金流达463.83亿元,增长57.93%。公司中央空调市场占...
2026年4月28日,Fedora 44 正式版全球发布。该版本面向 Workstation 用户,默认采用 GNOME 50 桌面,同时提供 KDE Plasma 6.6 选项,并集成 Budgie 10.10、PHP 8.5、Ruby 4.0 等最新软件包。系统...
4月28日,中国品牌ACEMAGIC在海外市场正式推出F5A迷你主机。该机搭载AMD锐龙AI 9 HX 470处理器(12核24线程,含Zen5/Zen5c核心,加速频率5.2GHz),集成Radeon 890M显卡,NPU算力55 TOPS,整机AI性能...
截至2026年4月28日,江波龙、香农芯创、中电港等11家存储芯片上市公司已披露2026年一季度业绩或预告。其中,香农芯创净利润同比大增7835%、环比增长618%;中电港净利润环比增长494%。业绩普遍向...