据《经济参考报》报道,过去数年里,首衡集团要求部分员工(或员工亲朋)注册公司或个体户,交由融资部统一管理。首衡集团融资部先是为上述企业注入经营流水,再协调银行,以员工(或员工亲朋)或其名下企业名义从银行骗取贷款。有内部知情人士称,此贷款由首衡集团统一调度和使用,涉及金额或达10亿元。
天眼查App显示,涉事公司首衡集团有限公司成立于2017年8月,法定代表人、董事、经理为米亚林,注册资本1.25亿人民币,经营范围包括互联网销售、食用农产品零售、食用农产品批发等。参保人数信息显示,该公司2022年至2024年的参保人数均为0人。对外投资信息显示,该公司对外投资15家企业,包括高碑店市首衡食品贸易有限公司、湖北首衡农产品有限公司、河北农兴智慧冷链物流有限公司等。值得注意的是,与该公司同联系方式的企业有300余家,这些企业既包括首衡集团,还包括首衡集团关联企业:河北首衡铁岩建设集团、永州首衡农产品有限公司、北京首衡农产品有限公司等。
股权穿透图显示,首衡集团有限公司由河北首衡铁岩建设集团有限公司、柴增华分别持股52%、48%。控制企业信息显示,河北首衡铁岩建设集团有限公司实控100家企业,包括高碑店市铁岩建筑工程有限公司、保定首衡农产品有限公司等,所属地区涉及河北保定、北京大兴、天津滨海新区等。
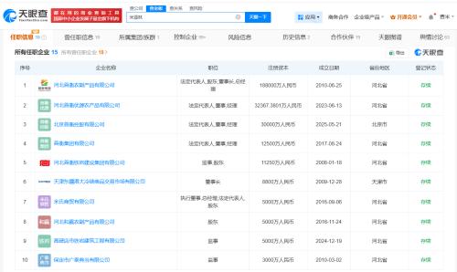
商业履历信息显示,米亚林名下关联15家企业,其中12家处于存续状态,包括河北首衡农副产品有限公司、天津东疆港大冷链商品交易市场有限公司、河北首衡优源农产品有限公司等,米亚林在上述公司担任法定代表人、董事长等职位。此外,天津东疆港大冷链商品交易市场有限公司因涉及民间借贷纠纷案件被起诉,该案将于7月17日在天津市滨海新区人民法院开庭审理。





扫一扫关注微信